4410 Divided By 84 are a flexible and hassle-free option for remaining organized and efficient. From calendars and planners to to-do lists and worksheets, these templates cater to different personal and expert needs. They are customizable, enabling you to tailor them to your choices and make preparing more efficient. Whether you need a weekly schedule, budget plan tracker, or meal planner, you'll find a design that matches your style and function.
Downloading and printing these templates is easy and available. Use them in the house, in the office, and even on the go to enhance your day-to-day jobs. Save time and effort with ready-to-use layouts that streamline your regimen while adding a touch of creativity to your organization. Explore a large range of 4410 Divided By 84 today and take the initial step towards a more orderly and productive way of life!
4410 Divided By 84

4410 Divided By 84
During an inning of play each player must pitch all four of his her bags An inning is never completed until all players pitch all four of his her bags Cornhole is the perfect summer game to play! Make sure to grab this cute Cornhole Rules printable (it's free!) for a totally cute porch sign ...
Cornhole rules printable Pinterest
Number Theory University Of Burdwan Number Theory Lecture
4410 Divided By 84SIMPLE Cornhole Rules. These Cornhole rules are meant to be easy to understand. Cornhole is a pretty simple game. These rules are both simple and complete. CORNHOLE RULES REGULATIONS Cornhole Boards 1 Place on a flat surface 24 feet apart front to front 2 The cornhole board surface should be 2 x 4 3
Each bag should be 6” x 6” and have 1 pound of corn inserted into each cornhole bag. (We will not be weighing bags.) CORNHOLE GAME PLAY: 1. Two teams of two ... Zeta Zeta
Cornhole rules printable A girl and a glue gun

RecNet
Cornhole can be a 2 or 4 player game You can play two on two or one on one There are 8 bags total 4 of one color for each
Whether you re a backyard cornhole player or a tournament level pro these are the cornhole rules that are officially followed worldwide for the sport Song And Lyrics By 84 Tet Baby LOOKBUFFALO Spotify Twitch
Kai Angoc Santhali YouTube Music
Cinta Pertama YouTube Music
Pick Out The Ears 84 Part 2 Healthcare Life
DUSTBIN PDF
Hey Siri Whats 67 Divided By 2 Karly The Sparky

2dc6467134a18c5c2198736d4410a876 png

3color


Twitch
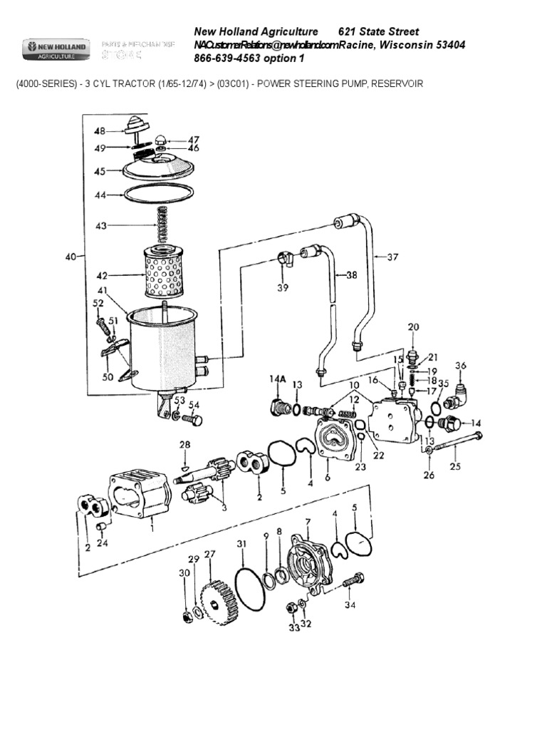
Power Steering Pump Reservoir Related Parts 3400 3500 4400 4410