9450 Divided By 27 are a versatile and hassle-free service for staying organized and efficient. From calendars and planners to to-do lists and worksheets, these templates deal with different personal and professional requirements. They are personalized, permitting you to tailor them to your preferences and make preparing more efficient. Whether you need a weekly schedule, budget plan tracker, or meal planner, you'll find a style that matches your style and function.
Downloading and printing these templates is easy and accessible. Use them at home, in the office, or even on the go to enhance your day-to-day jobs. Conserve effort and time with ready-to-use layouts that streamline your routine while adding a touch of creativity to your organization. Check out a vast array of 9450 Divided By 27 today and take the first step towards a more orderly and productive lifestyle!
9450 Divided By 27

9450 Divided By 27
You could try Pokemon card maker online pokecardmaker and it ll give you the blank Pokemon TCG template for you to freely modify e g add Browse pokemon card template resources on Teachers Pay Teachers, a marketplace trusted by millions of teachers for originalĀ ...
DIY Pokemon Card Templates Free Printable Pinterest
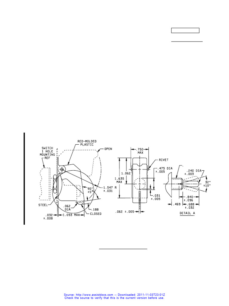
MS25225J PDF Mechanical Engineering
9450 Divided By 27Download the Free Printable Pokemon Card Templates. This eight page printable includes templates for both regular sized cards and jumbo sizedĀ ... Get your kids making up their own Make up their own names values designs and characters Here is the template
Check out our pokemon cards printable selection for the very best in unique or custom, handmade pieces from our shops. How To Divide Numbers With Two Digit Divisor Long Division Of Numbers 64329 Is Divided By A Certain Number While Dividing The Numbers 175
Pokemon card template TPT

Saaf9450b9af9425382bf603567f5abf1u jpg
Pokemon Card Maker lets you make realistic looking Pokemon cards quickly and easily 36 Divided By 6 36 6 YouTube
Draw your own Pok mon cards with these free printable basic evolution trainer and energy Pok mon cards templates Great kids activity 5 Divided By 2 3 Five Divided By Two Thirds YouTube 7 Divided By 9 7 9 YouTube

Adalena Etherial Reader The Crooked Path
EMA Knji ica 2021 PDF
![]()
Twitch
LP PIPETAS 1 0 Verificaci n De Material De Vidrio Que Opera Por Vaciado

1 2 Divided By 4 One Half Divided By Four YouTube

2 Divided By 5 2 5 YouTube

24 Divided By 3 24 3 YouTube

36 Divided By 6 36 6 YouTube

Find The Quotient And Remainder When Dividing Numbers YouTube

Divide 813 By 2 Many Get This Quotient Wrong YouTube