Is 100mb S Download Fast are a flexible and practical solution for staying organized and productive. From calendars and planners to to-do lists and worksheets, these templates cater to various individual and professional requirements. They are adjustable, allowing you to tailor them to your choices and make planning more efficient. Whether you need a weekly schedule, spending plan tracker, or meal planner, you'll find a style that matches your style and function.
Downloading and printing these templates is simple and available. Use them in the house, in the workplace, and even on the go to enhance your daily tasks. Conserve effort and time with ready-to-use layouts that simplify your regimen while including a touch of imagination to your organization. Check out a vast array of Is 100mb S Download Fast today and take the initial step towards a more organized and productive lifestyle!
Is 100mb S Download Fast

Is 100mb S Download Fast
Bingo Baker has hundreds of bingo cards that you can customize print and even play online Before you print all your bingo cards, please print a test page to check they come out the right size and color. Your bingo cards start on Page 4 of this PDF.
Free Printable and Virtual Bingo Card Templates

Which Type Of Ethernet Cable Supports Gigabit Internet Speed YouTube
Is 100mb S Download FastFREE. SPACE. BINGO CARD. Set of 75 traditional bingo cards in an easy to read format sized at 8 5 X 11 Each card is different providing a way for up to 75 players to play at a time
We have three different types of picture bingo cards that you can make: 3x3, 4x4 and 5x5 picture bingo using pictures from a theme that you select. U SanDisk SD Ultra 100MB s 32GB 64GB 128GB 100MBs SDHC SDXC C10 Card LOT
1 75 Number Bingo Liffey Services

Wallpaper Pc Nissan Skyline R34 Gtr Hot Wheels Infoupdate
Create randomized bingo cards for free in seconds with our Bingo Card Generator Print your bingo cards at home to play in person or send out links to play 16G FC 14 025Gbps 32G FC 28 05Gbps
Your customized bingo card template is printable and downloadable Simply download a high resolution JPG PNG or PDF file to your desktop and print it any time 568b Wiring Diagram Wiring Flow Line

Mate40Pro

Mate40Pro

PN2 HH00 C1NN DECOWELL

Secure Digital SD Card PNG

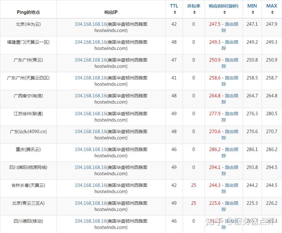
2023 Hostwinds VPS 1 CPU 1GB 30G SSD 1Gbps

2023 Hostwinds VPS 1 CPU 1GB 30G SSD 1Gbps

7E8 8T

16G FC 14 025Gbps 32G FC 28 05Gbps
256g Switch 100MB s tf tmall

SDXC UHS II V60